精機製品・技術レポート:すべり案内に対する直動転がり案内の特長

機械の案内面は、従来“滑り”が主流であったが、近年は“転がり”化が急速に進んでいる。 転がり案内の特長は、次のとおりである。

 

(1) 制御性が良い

 

転がり案内は、滑り案内と比較して起動摩擦と動摩擦の差が小さいので、転がり案内ユニットを装着したスライダがスティックスリップと呼ばれる停止と移動を小刻みに繰返す現象が少ない。 したがって、スライダを設定した位置に正確に停止できるので、運動制御が容易である。

 

(2) 駆動ボールねじの配置設定が自由

 

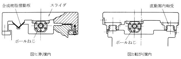
滑り案内は、駆動用のボールねじを左右の案内面の中心に置かないと、摩擦が大きいため、スライダを傾けようとする大きなモーメント荷重を生じ、滑り面は偏摩耗を生じる。 したがって、ボールねじの配置は両案内面の中央位置に制限される(図1)。
転がり案内面では、摩擦が小さいので、駆動用のボールねじは、片側に寄せて配置ができ設計の自由度が大きい(図2)。

 

(3) 精度を長期に維持できる

 

転がり案内面は、表面粗さに関係する初期摩耗及び通常摩耗ともに滑り案内面の1/100程度と非常に小さい。
また、転がり案内は、予圧を容易に与えられるので、遊びを生じることがなく、長期にわたって高い精度を保つことができる。

 

(4) 入手性が良い

 

最近、直動案内軸受は、シリーズ化されて量産が進み、安価になり、在庫も豊富で入手性が良い。

 

(5) 案内面の製作が容易

 

滑り案内面は、熟練した技能者がきさげ作業によって製作していた。 転がり案内の採用は、近年の技能者不足による影響を補う大きな長所となった。

 

(6) 省エネルギーに寄与

 

転がり案内は、摩擦が少ないので省エネルギー効果が大きい。

 

(7) その他

 

転がり案内については、弾性変形の計算予測が可能なこと、油膜厚さの変動が少ないという特長もある。
このような特長の多い転がり案内であるが、摩擦が小さいので振動の吸収性が低くなり、切削系工作機械などには不向きと思われてきた。 しかし、現在では、旋盤、マシニングセンターで多く用いられ、この用途でも問題のないことが実証されている。

滑り案内、転がり案内